|
设为主页
|
保存桌面
美国ROTOR CLIP佳武自营旗舰店
021-80392064
首页
品牌介绍
供应产品
新闻中心
联系方式
下载
品牌档案
佳武自营旗舰店
白经理
女士
经营范围:
ROTOR CLIP弹簧,ROTOR CLIP软管夹,ROTOR CLIP转子夹
主营行业:
五金/导轨/丝杆
所在地区:
美国
新闻中心
> 小夹子大作用:软管夹的分类与多*域应用
产品分类
全部分类
> ROTOR CLIP 挡圈
> ROTOR CLIP 卡箍
> ROTOR CLIP 弹簧
> ROTOR CLIP 卡环
> ROTOR CLIP 软管夹
> ROTOR CLIP 转子夹
> ROTOR CLIP 波浪泉
联系方式
联系人:白经理
电话: 021-80392064
手机及微信: 18601640485
邮箱: 3107346682@qq.com
地址:
上海市奉贤区金齐路868号5078室
站内搜索
供应产品
新闻中心
下载
友情链接
暂无链接
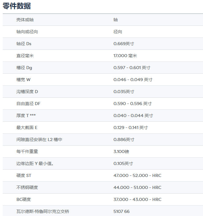
ROTOR CLIP 径向挡圈LC-66系列
点击图片查看原图
产品:
浏览次数:0
ROTOR CLIP 径向挡圈LC-66系列
品牌:
ROTOR CLIP
单价:
面议
最小起订量:
供货总量:
发货期限:
自买家付款之日起
3
天内发货
有效期至:
长期有效
最后更新:
2025-11-13 17:23
详细信息
询价单